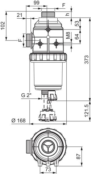
2"-50M ELZÁROSZELEPES SZÍVÓSZŰRŐ

TERMÉKKÓD: 3172473

49 517 Ft