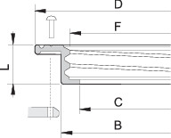
FEDÉLGYŰRŰ 360*38

TERMÉKKÓD: 3502440

4 305 Ft