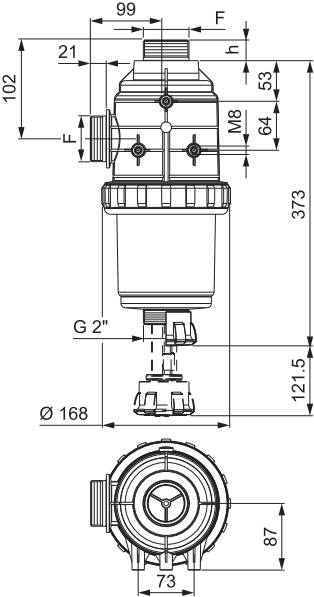
2"-30M ELZÁROSZELEPES SZÍVÓSZŰRŐ

TERMÉKKÓD: 3172472

49 517 Ft